
Appleは、物理スイッチの代わりにTaptic Engineを活用した感圧式ボタン「Project Bongo」を、iPhoneのみならずiPadやApple Watchにも採用する計画を進めていると、中国のリーカー刹那数码氏がWeibo上で報告しました。
複数デバイスへの感圧式ボタン搭載が検討中
これまでも刹那数码氏は、Appleが感圧式ボタンの開発を継続していることを繰り返し伝えてきました。
今回の報告が正しければ、Appleは今後登場するiPhoneに限らず、iPadやApple Watchといった他の主要製品にも感圧式ボタンを搭載する可能性があることになります。
物理スイッチを感圧式ボタンに置き換えることで、防水・防塵性能の向上や、多機能なボタン設計が実現されると見られています。
「Project Bongo」に関する特許も確認済み
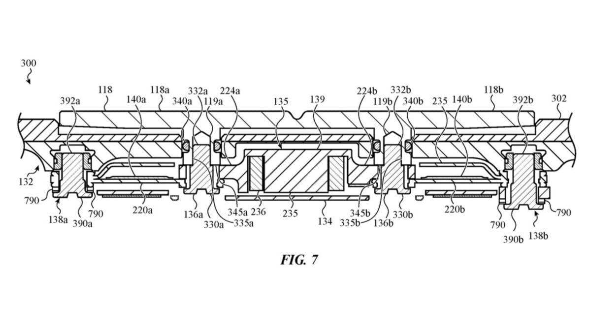
「Project Bongo」とされる感圧式ボタンの構造は、Appleが2025年4月に米国特許商標庁(USPTO)に出願した特許情報からも確認されています。
この特許文書には、Taptic Engineと同様の触覚フィードバックを生成する「Bongo Haptic Engine」を用いた感圧式ボタンの仕組みが明記されていました。

Apple Watchには小型化した形での採用か
出願された特許には、感圧式ボタンの搭載対象としてiPhoneのみならず、iPadやApple Watchといった他のデバイスの名前も記載されています。
もちろん、特許出願時には幅広い製品を対象に含めるのが一般的ですが、iPhoneに搭載可能な技術であれば、よりスペースに余裕のあるiPadに導入することは比較的容易だと考えられます。
Apple Watchについては、バッテリー容量を損なわないよう小型化されたユニットをサイドボタンとして採用する形になる可能性が高いと見られます。
Source:刹那数码/Weibo
Photo:AppleInsider, (2)
